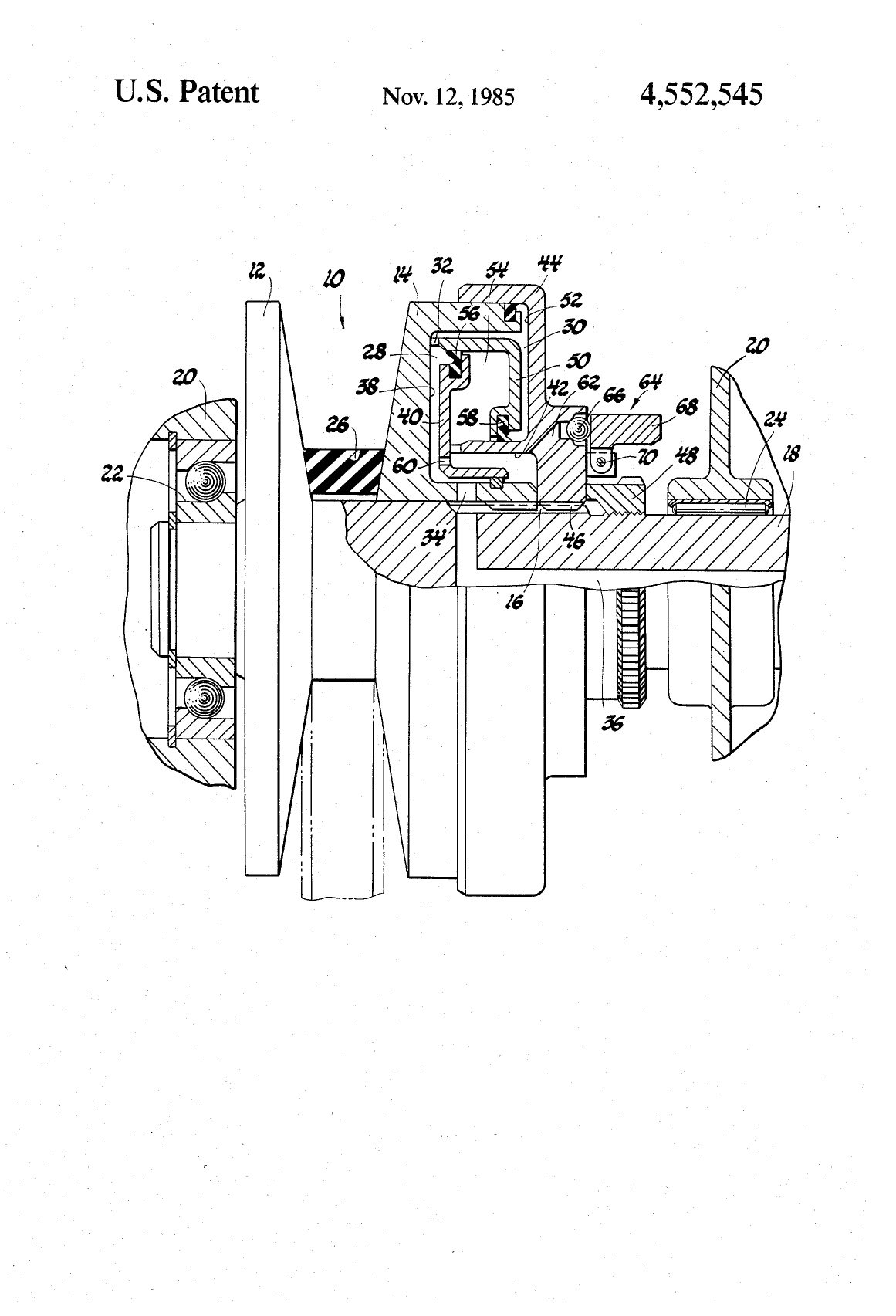
Centrifugal Pressure Biased Vane Actuator
Patent Number: US4552545A
Title: Centrifugal Pressure Biased Vane Actuator
Date of Patent: November 12, 1985
Inventors: Erkki A. Koivunen (Co-inventor)
Assignee: General Motors Corporation
Abstract: A vane actuator with centrifugal pressure bias for hydraulic systems.
Link: View on Google Patents



