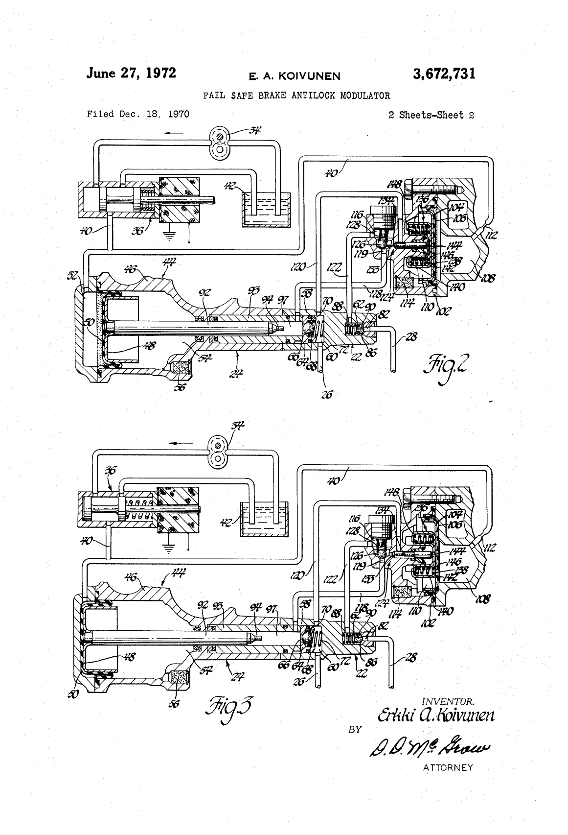
Bearing Surface
Patent Number: US3672731A
Title: Bearing Surface
Date of Patent: June 27, 1972
Inventors: Erkki A. Koivunen (Co-inventor)
Assignee: General Motors Corporation
Abstract: A bearing surface design for reducing wear in high-load transmission components.
Link: View on Google Patents






