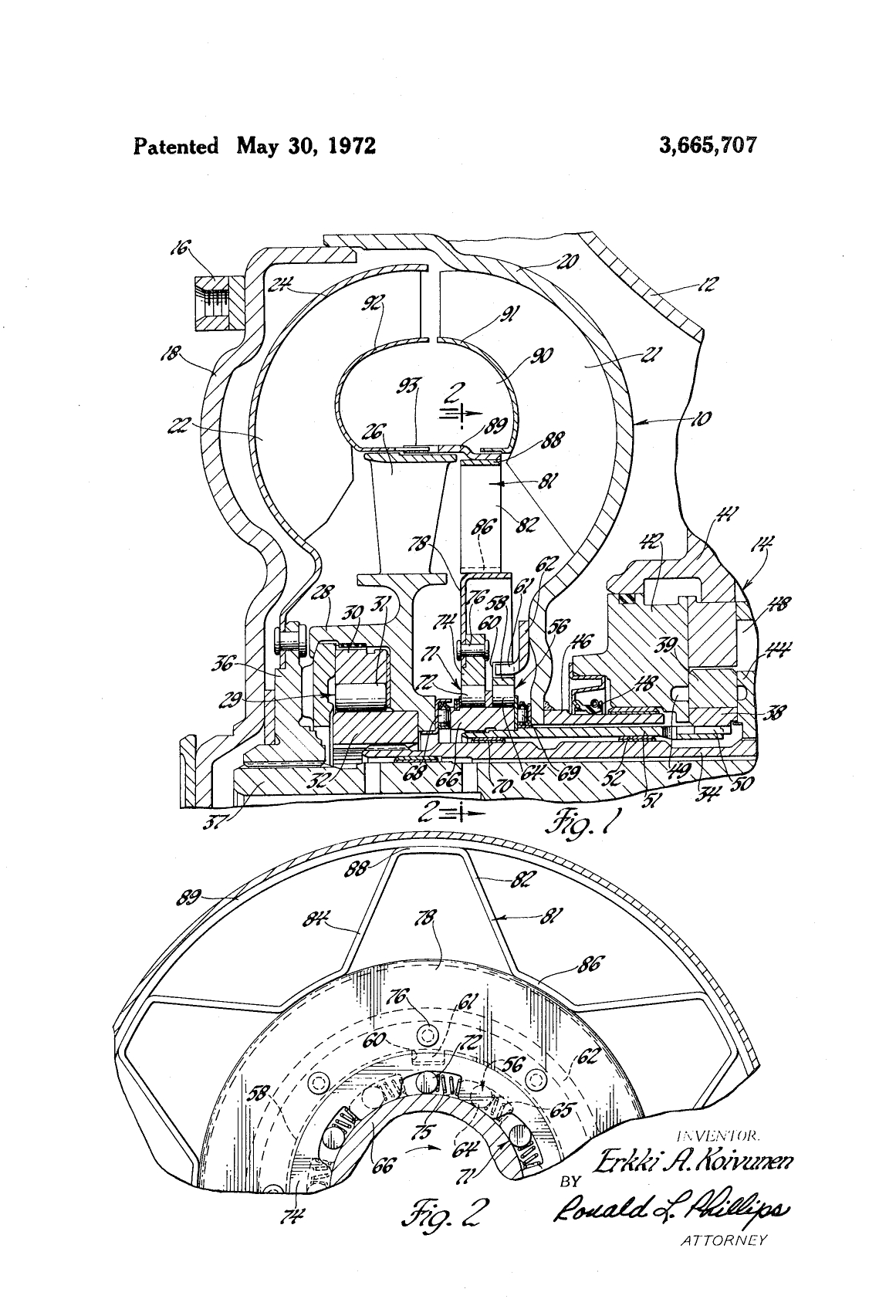
Vehicular Transmission Pump Drives
Patent Number: US3665707A
Title: Vehicular Transmission Pump Drives
Date of Patent: May 30, 1972
Inventors: Erkki A. Koivunen (Sole inventor)
Assignee: General Motors Corporation
Abstract: A transmission pump drive system for vehicular applications.
Link: View on Google Patents




